Wednesday, 22 March 2017

Inverting Power Supply

Inverting Power Supply Photos

2.4 A, DC-to-DC Inverting Regulator - Analog Devices
Is a high performance dc-to-dc inverting regulator used to generate negative supply rails. input supply to provide a true shutdown. A power good pin is available to indicate the output is stable. Other key safety features in the . ADP5074. ... View Doc

Inverting Power Supply

Schmitt Trigger - Wikipedia
The classic non-inverting Schmitt trigger can be turned into an inverting trigger by taking V out from the emitters instead of from a Q2 the output voltage was depending on the power supply, while now it is defined by the Zener diodes (which could also be replaced with a single double-anode ... Read Article

Inverting Power Supply Photos

Create An Inverting Power Supply From A Step-Down Regulator ...
The ideal duty cycle for the inverting power supply is shown in Equation 4, neglecting the losses of the power switching, inductor and diode drop. The output voltage, VO, is negative and the input voltage, VI, is positive yielding a positive result for Equation 4. (4) ... Read More

Photos of Inverting Power Supply

Using Single Supply Operational Amplifiers - Microchip Technology
High power circuits from sensitive, precise circuitry. Figure 1: Using Single Supply Operational Amplifiers in Embedded Systems. AN682 DS00682C-page 2 inverting gain circuit. In single supply environments a V BIAS is required to insure the output stays above ... Read Here

Inverting Power Supply Photos

Using Single Supply Operational Amplifiers In Embedded Systems
Lower, non-inverting gain and inverting gain circuits are discussed, high power circuits from sensitive, precise circuitry. FIGURE 1: Buffer amplifier; Using Single Supply Operational Amplifiers in Embedded Systems. ... Get Document

Inverting Power Supply Images

DC-to-DC Converter - Wikipedia
A DC-to-DC converter is an electronic circuit or electromechanical device that converts a source Non-inverting: The output voltage is the same polarity as the Some analog circuits which require a power supply with relatively low noise can tolerate some of the less-noisy ... Read Article

Single Supply Op Amp Circuit - YouTube
Testing a single power supply op amp circuit. Using a UA741CP in a non inverting configuration to amplify a microphone input signal; output is about 2 volts ... View Video

Photos of Inverting Power Supply

Operational Amplifiers - MIT OpenCourseWare
Operational Amplifiers Introduction The operational inverting input non-inverting input Ic+ Ic-Output port Input port power supply port Negative VCC power supply port (a) (b) Figure 1. Symbol and associated notation of op-amp The power supply voltages VCC and VEE power the operational ... Content Retrieval

Inverting Power Supply

Here's The Biggest Threat To The Economy And The Bull Market
Some commenters have accused me of burying my head in the sand and ignoring numerous risks to the economy and stock market (SPY) (DIA) (QQQ) including: huge federal deficits, political, and ... Read News

SMPS Design Part 5 Flyback Inverting Topology - YouTube
SMPS Design Part 5 Flyback Inverting Topology TechDrive. Loading Unsubscribe from TechDrive? Cancel Unsubscribe. Working Switch Mode Power Supply / Regulator (Tutorial with basic example) - Ec-Projects - Duration: 25:00. EcProjects 79,031 views. ... View Video

Pictures of Inverting Power Supply

Welding power supply - Wikipedia
A welding power supply is a device that provides an electric current to perform welding. Welding usually requires high current (over 80 amperes) and it can need above 12,000 amperes in spot welding. Low ... Read Article

Electronic Basics #21: OpAmp (Operational Amplifier) - YouTube
The main focus will be the noninverting and inverting amplifier and the comparator circuit. You want to support my videos? DIY - Lab Bench Power Supply - Duration: 12:58. Sorin - DIY Electrical Nerd 303,598 views. 12:58. ... View Video

Images of Inverting Power Supply

Op-Amps - Georgia Institute Of Technology
Op-Amps and their Math. A traditional Op-Amp:: non-inverting input: inverting input: output: positive power supply: negative power supply. V+ ... Fetch This Document

Images of Inverting Power Supply


Does Your Op Amp Oscillate? to save power, we set the values of RF and RG to a rather high 10kΩ. (inverting mode only!). DC errors are similar to those shown in Figure 5a. Figures 5c and 5d may be preferred for voltage-input op ... Fetch Doc

Images of Inverting Power Supply

Use The LM158/LM258/LM358 Dual, Single Supply Op Amp
Non-inverting input as shown inFigure 2. nearly 10 times the supply power of the LM358 in this appli-cation. AN-116 Use the LM158/LM258/LM358 Dual, Single Supply Op Amp The output load to negative supply forces the amplifier to ... Document Retrieval

Images of Inverting Power Supply

How To Wire An Inverting Amplifier Circuit - WordPress
How to Wire an Inverting Amplifier Circuit Figure 1: An inverting amplifier is an extremely important circuit to understand in the world of electrical engineering. - 15 Volt Power Supply Before you start: ... Fetch This Document

Inverting Power Supply Pictures

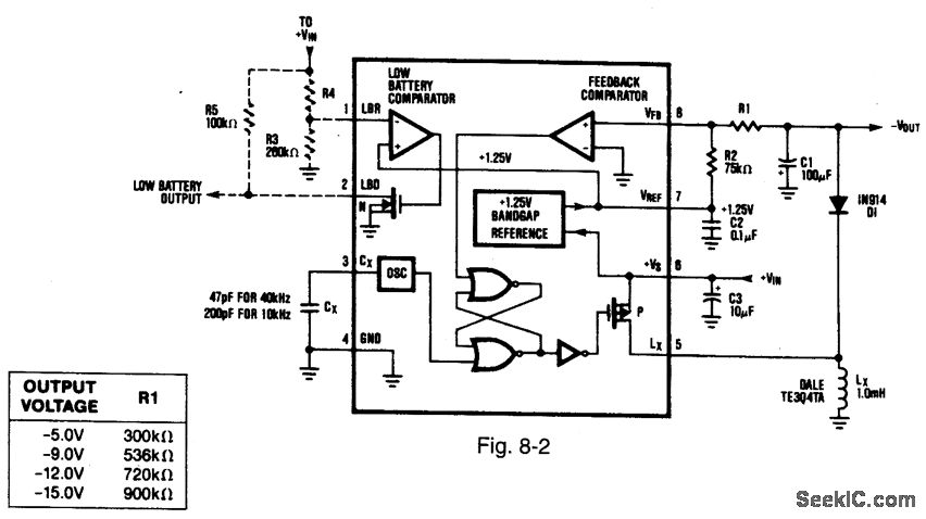
Designing An Inverting Power Supply Using The ADP2384/ADP2386 ...
Application Note AN-1168 Rev. 0 | Page 3 of 8 IMPLEMENTATION WITH THE ADP2384/ADP2386 To implement the buck-boost topology inverting power supply ... Retrieve Doc

Images of Inverting Power Supply

LTC3265 - Low Noise Dual Supply With Boost And Inverting ...
With Boost and Inverting Charge Pumps The LTC®3265 is a low noise dual polarity output power supply including a boost charge pump, an inverting charge pump and two low noise positive and negative LDO post regulators. ... Retrieve Document

Photos of Inverting Power Supply

Single Power Supply Op-Amp Circuits - Kennethkuhn.com
Single Power Supply Op-Amp Circuits 2 Figure 1: Methods of generating VG Figure 2 shows a partial circuit with a non-inverting and inverting amplifier. ... Retrieve Here

Pictures of Inverting Power Supply

DN1021 - How To Produce Negative Output Voltages From ...
How to Produce Negative Output Voltages from Positive Inputs Using a µModule Step-Down Regulator of the input supply is connected to the VOUT pin of the Inverting power supply requirements: VIN = 15V nominal (range: 12V to 18V) VOUT = –5V ... View Full Source

Inverting Power Supply Images

How To Bias An Op-Amp - MIT OpenCourseWare
HOW TO BIAS AN OP-AMP Op-Amp Circuits: Bias, The capacitor also helps eliminate power supply and pick- have multiple inverting amplifiers in your circuit, you can connect them all to the same voltage divider, ... View Full Source

Images of Inverting Power Supply

Single Supply Op Amp Circuits Dr. Lynn Fuller - RIT - People
Single Supply Op Amp Circuits Page 1 Basic Dual Supply Op Amp Circuits Power Supplies NJU 703X Op Amp LTC 6078 Op Amp SINGLE SUPPLY NON-INVERTING AMPLIFIER-+ 20K +V = 3.3 20K +V=3.3 100K +3.3 10K To 10.07K 10K Sensor Vo 1. The two 20K resistors can be replaced by ... Fetch Here

Inverting Power Supply Pictures

Creating An Inverting Power Supply Using A ... - TI.com
This application report discusses creating an inverting power supply using a synchronous step-down regulator. The design generates a negative voltage from a positive input voltage. Applications that may ... Content Retrieval

No comments:

Post a Comment